ПР225 программируемое реле ОВЕН в щитовом исполнении с графическим дисплеем и Ethernet
Описание
ПР225 программируемое реле ОВЕН в щитовом исполнении с графическим дисплеем и Ethernet
ПР225 - новое программируемое реле в щитовом корпусе с графическим дисплеем и Ethernet. Прибор сочетает в себе оптимальную конфигурацию аналоговых и дискретных входов-выходов для управления в системах водоснабжения, отопления, кондиционирования, вентиляции, пищевой промышленности и др.
Графический цветной экран 3,5” позволяет создавать удобные и наглядные интерфейсы пользователей, что значительно упрощает настройку и восприятие информации. А крепление прибора на дверцу шкафа не требует использования панели оператора.
Интерфейс Ethernet позволяет интегрировать прибор в распределенные системы, увеличивать количество входов-выходов с помощью модулей ввода-вывода Мх210, удаленно контролировать и управлять оборудованием с помощью облачного сервиса OwenCloud. В зависимости от модификации у ПР225 предусмотрено до 2-х интерфейсов RS-485. Это позволяет расширить систему с помощью модулей Мх110 для управления исполнительными механизмами или передачи данных на верхний уровень.
Алгоритм работы ПР225 строится пользователем в бесплатной нативной российской среде программирования Owen Logic. Это позволяет создавать уникальные пользовательские алгоритмы и учитывать все особенности системы.
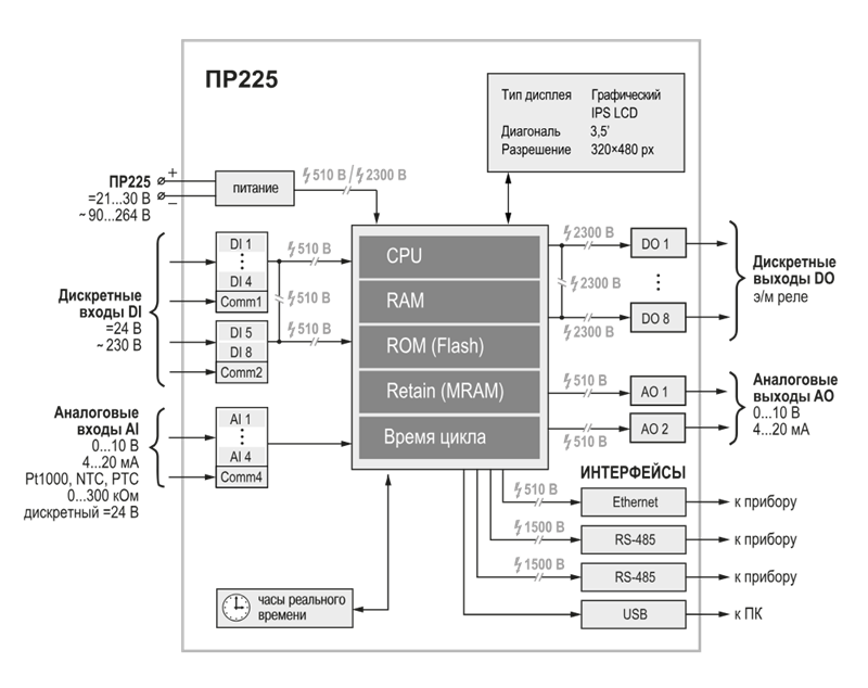
HMI: графический экран и кнопки
- Графический цветной экран с диагональную 3,5“, 320×480
- 7 механических кнопок с возможностью пользовательской настройки
- 5 светодиодов: 3 сервисных, 2 пользовательских
Оптимальная комбинация входов-выходов
- 4 аналоговых входа: РТ1000, NTC/PTC, 4…20 мА/ 0…10 В, дискретный режим
- 2 универсальных аналоговых выхода: 4…20 мА/0…10 В
- 8 дискретных входов (питание =24 В/ ∼220 В)
- 8 дискретных выходов (Э/М реле и транзисторные ключи)
Коммуникационные возможности
- Интерфейс Ethernet, режим Master/Slave, Modbus TCP:
- Прямой доступ в облачный сервис OwenCloud
- Подключение к ПК для конфигурирования и записи программы
- Настройка в Owen Configurator
- Визуализация процессов с помощью панелей оператора и SCADA
- Увеличение входов-выходов с помощью модулей Мх210
- До 2-х интерфейсов RS-485, режим Master/Slave, Modbus RTU/ASCII:
- Интеграция в SCADA-системы
- Визуализация процессов с помощью панелей оператора
- Увеличение входов-выходов с помощью модулей Мх110
- Управление внешними устройствами: ПЧВ, датчики и др.
- Подключение к ПК для конфигурирования и записи программы
Конструктивные особенности
- Щитовое исполнение 100×100×72
- Съемные клеммники - для удобства монтажа
- Быстрая замена батарейки
Эксплуатация
- 2 модификации по питанию: =24 и ~230 В
- Работа в неотапливаемых помещениях: -20...+55 ºС
- Конфигурирование и запись программы через USB, Ethernet
|
|
Управление вентиляцией |
| |
Управление автоклавом ОВЕН ПР225 обеспечивает высокую точность поддержания температуры и давления в автоклавах различных типов и размеров. Интуитивно понятная среда программирования упрощает адаптацию системы под конкретные задачи, а наличие универсальных аналоговых входов и выходов позволяет легко интегрировать прибор в уже существующие установки. Автоматизация на базе ПР225 гарантирует стабильную работу оборудования, снижает необходимость постоянного контроля со стороны человека, включая функции диагностики и удаленного мониторинга для оперативного контроля. |
|
|
Управление температурой, влажностью, вентилятором, ТЭНом, задвижками и клапанами в инкубаторе птицекомплекса Программируемое реле ОВЕН ПР225 идеально подходит для автоматизации малых и средних инкубаторов. Устройство монтируется непосредственно на дверцу шкафа управления, что исключает необходимость дополнительного использования панели оператора. Цветной дисплей с диагональю 3,5” позволяет создавать интуитивно понятный и удобный интерфейс для работы оператора. Интеграция с облачным сервисом OwenCloud обеспечивает удаленный контроль системы, анализ архивных данных и возможность оперативной реакции на отклонения. |
| Наименование | ПР225-230 | ПР225-24 |
|---|---|---|
| HMI | ||
| Тип дисплея (тип матрицы) | Графический (IPS LCD) | |
| Количество отображаемых цветов | 65535 | |
| Диагональ | 3,5“ | |
| Разрешение | 320 × 480 пикселей | |
| Поддерживаемые языки | Русский, английский | |
| Кнопки | 7 механических кнопок (с возможностью программной пользовательской настройки) | |
| Светодиоды | 3 сервисных, 2 пользовательских | |
| Программирование | ||
| Среда программирования | Owen Logic | |
| Конфигурирование | Owen Configurator | |
| Объем Retain-памяти | 2040 байт | |
| Объем памяти сетевых переменных (режим slave) | 2040 байт | |
| Количество сетевых запросов в режиме Master | 192 | |
| Стек | Динамический | |
| Память ПЗУ | 64 кбайт | |
| Память ОЗУ | 320 кбайт | |
| Интерфейсы программирования и конфигурирования | USB Type-C, Ethernet | |
| Общие сведения | ||
| Диапазон переменного напряжения питания |
90 до 264 В (номинальное 230 В, при 50 Гц) |
|
| Диапазон постоянного напряжения питания | 127...373 В (номинальное 230 В) | =20...36В (номинальное =24) |
| Минимальное время цикла | 1 мс (зависит от сложности программы) | |
| Часы реального времени | есть | |
| Flash-память (архив) | ||
| Количество циклов записи и стирания | 100 000 | |
| Максимальный размер файла архива | 2048 байт | |
| Максимальное количество файлов архива | 300 шт. | |
| Минимальный период записи архива | 30 c | |
| Дискретные входы | ||
| Количество | 8 | |
| Тип | Дискретный (Д) | |
| Подключаемые датчики | Коммутационные устройства (контакты кнопок, выключателей, герконов, реле и т.п.), датчики типа «сухой контакт» | |
|
Датчики с выходом push-pull Датчики с выходом n-p-n Датчики с выходом p-n-p |
||
| Номинальное напряжение питания | ~230 В | =24 В |
| Гальваническая развязка | Групповая, по 4 входа | |
| Электрическая прочности изоляции | 510 В | |
| Номинальное напряжение питания | 24 В | |
| Гальваническая развязка | Групповая | |
| Электрическая прочности изоляции | 510 В | |
| Аналоговые входы | ||
| Количество | 4 | |
| Тип измеряемых сигналов | Pt1000, NTC, РТС, 4…20 мА, 0…10 В, 0…300 кОм и др. | |
| Период обновления значений всех каналов, не более | 1 мс | |
| Работа в дискретном режиме | Да, =24 В | |
| Гальваническая развязка | Отсутствует | |
| Дискретные выходы | ||
| Количество | 8 шт. | |
| Тип | Релейные (нормально-разомкнутые) или транзисторные ключи (n-p-n-типа) | |
| Допустимый ток нагрузки, не более | ||
| Релейные (Р) |
5 А при напряжении не более 250 В перем. тока, cos(φ) > 0,95 3 А при напряжении не более 30 В пост. тока |
|
| Транзиторные (КТ) | - | 0,5 А при напряжении не более 40 В постоянного тока |
| Гальваническая развязка | ||
| Релейные (Р) | Индивидуальная | |
| Транзиторные (КТ) | Отсутствует | |
| Электрическая прочность изоляции | ||
| Релейные (Р) | 2300 В | |
| Транзиторные (КТ) | - | |
| Аналоговые выходы | ||
| Количество | 2 | |
| Тип аналогового выхода | Универсальный: 4...20 мА / 0...10 В | |
| Разрядность ЦАП | 12 бит | |
| Гальваническая развязка | Индивидуальная | |
| Электрическая прочность изоляции | 510 В | |
| Коммуникационные возможности | ||
| Интерфейс Ethernet (1 шт.) | ||
| Протокол связи | Modbus TCP | |
| Режим работы | Master/Slave | |
| Интерфейс RS-485 (1 или 2 шт. - выбирается при заказе) | ||
| Протокол связи | Modbus RTU/ASCII | |
| Режим работы | Master/Slave | |
| Модификация | Питание, В | Входы | Выходы | RS-485 | Ethernet | ||
|---|---|---|---|---|---|---|---|
| DI | AI | DO | AO | ||||
| ПР225-24.1208.01.1.0 | =24 | 33 | 8 (24 В) | 4 | 0 | 1 | 0 |
| ПР225-24.1208.01.2.0 | =24 | 8 (24 В) | 4 | 8 Р | 0 | 2 | 0 |
| ПР225-230.1208.01.1.0 | ~230 | 8 (230 В) | 4 | 8 Р | 0 | 1 | 0 |
| ПР225-230.1208.01.2.0 | ~230 | 8 (230 В) | 4 | 8 Р | 0 | 2 | 0 |
| ПР225-24.1210.02.1.0 | =24 | 8 (24 В) | 4 | 8 Р | 2АУ | 1 | 1 |
| ПР225-24.1210.02.2.0 | =24 | 8 (24 В) | 4 | 8 Р | 2АУ | 2 | 1 |
| ПР225-230.1210.02.1.0 | ~230 | 8 (230 В) | 4 | 8 Р | 2АУ | 1 | 1 |
| ПР225-230.1210.02.2.0 | ~230 | 8 (230 В) | 4 | 8 Р | 2АУ | 2 | 1 |
| ПР225-24.1208.04.1.0 | =24 | 8 (24 В) | 4 | 8 Р | 0 | 1 | 1 |
| ПР225-24.1208.04.2.0 | =24 | 8 (24 В) | 4 | 8 Р | 0 | 2 | 1 |
| ПР225-230.1208.04.1.0 | ~230 | 8 (230 В) | 4 | 8 Р | 0 | 1 | 1 |
| ПР225-230.1208.04.2.0 | ~230 | 8 (230 В) | 4 | 8 Р | 0 | 2 | 1 |
| ПР225-24.1210.06.1.0 | =24 | 8 (24 В) | 4 | 4Р, 4КТ | 2АУ | 1 | 1 |
| ПР225-24.1210.06.2.0 | =24 | 8 (24 В) | 4 | 4Р, 4КТ | 2АУ | 2 | 1 |
| ПР225-230.1210.06.1.0 | ~230 | 8 (230 В) | 4 | 4Р, 4КТ | 2АУ | 1 | 1 |
| ПР225-230.1210.06.2.0 | ~230 | 8 (230 В) | 4 | 4Р, 4КТ | 2АУ | 2 | 1 |
|
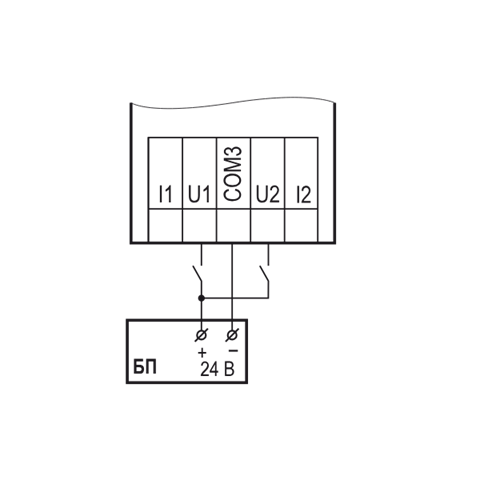
Схема подключения к универсальным входам, работающим в дискретном режиме, датчиков типа «сухой контакт» |
Схема подключения к универсальным входам, работающим в дискретном режиме, трехпроводных дискретных датчиков, имеющих выходной транзистор p-n-p-типа с открытым коллектором |
|
Подключение ТС к аналоговому входу |
Подключение датчиков с выходом в виде тока |
Подключение датчиков с выходом в виде напряжения |
Подключение резистивных датчиков |
|
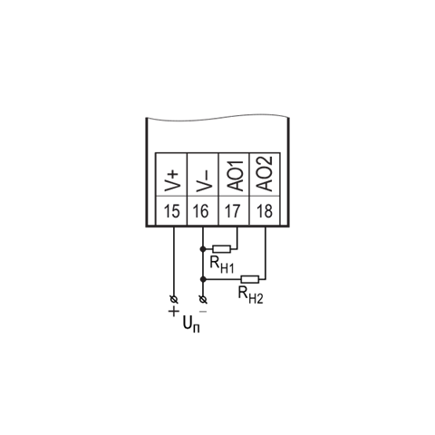
Подключение аналогового выхода, находящегося в режиме источника тока (сопротивление нагрузки для режима работы выхода 4…20 мА должно быть не более 600 Ом) |
Подключение аналогового выхода, находящегося в режиме источника напряжения (сопротивление нагрузки для режима работы выхода 0…10 В должно быть не менее 1 кОм) |
| УГО ПР225-24.1210.02.1.0 ЕСКД | Скачать PDF | Скачать DWG |
| УГО ПР225-24.1210.02.1.0 СПДС | Скачать PDF | Скачать DWG |
| УГО ПР225-24.1210.02.2.0 ЕСКД | Скачать PDF | Скачать DWG |
| УГО ПР225-24.1210.02.2.0 СПДС | Скачать PDF | Скачать DWG |
| УГО ПР225-230.1210.02.1.0 ЕСКД | Скачать PDF | Скачать DWG |
| УГО ПР225-230.1210.02.1.0 СПДС | Скачать PDF | Скачать DWG |
| УГО ПР225-230.1210.02.2.0 ЕСКД | Скачать PDF | Скачать DWG |
| УГО ПР225-230.1210.02.2.0 СПДС | Скачать PDF | Скачать DWG |
| Измерение унифицированного сигнала напряжения 0..10 В | Скачать PDF | Скачать DWG |
| Интерфейс Ethernet | Скачать PDF | Скачать DWG |
| Интерфейс RS-485 | Скачать PDF | Скачать DWG |
| ИТП 4-20 мА | Скачать PDF | Скачать DWG |
| Клапан с электромеханическим приводом 0-10 В | Скачать PDF | Скачать DWG |
| Лампа сигнализации Р | Скачать PDF | Скачать DWG |
| Подключение бесконтактых датчиков NPN | Скачать PDF | Скачать DWG |
| Подключение бесконтактых датчиков PNP DI | Скачать PDF | Скачать DWG |
| Подключение бесконтактых датчиков PNP | Скачать PDF | Скачать DWG |
| Подключение датчика давления 4...20 мА | Скачать PDF | Скачать DWG |
| Подключение датчика типа сухой контакт | Скачать PDF | Скачать DWG |
| Подключение термосопротивления | Скачать PDF | Скачать DWG |
| Твердотельное реле 0-10 В | Скачать PDF | Скачать DWG |
| Твердотельное реле 4-20 мА | Скачать PDF | Скачать DWG |
| 2D модель ПР225-24.1210.02.1.0 | Скачать PDF | Скачать DWG |
| 2D модель ПР225-24.1210.02.2.0 | Скачать PDF | Скачать DWG |
| 2D модель ПР225-230.1210.02.1.0 | Скачать PDF | Скачать DWG |
| 2D модель ПР225-230.1210.02.2.0 | Скачать PDF | Скачать DWG |
| 3D модель ПР225 | Скачать PDF | Скачать STP |
- Прибор ПР225 - 1 шт.
- Краткое руководство по эксплуатации - 1 экз.
- Паспорт и гарантийный талон - 1 экз.
- Комплект клеммных соединителей - 1 экз.
- Комплект крепежных элементов






















